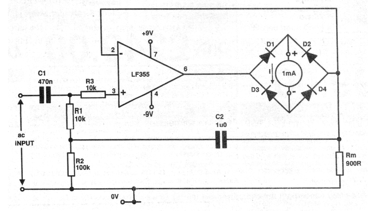
Este circuito fue obtenido en una publicación inglesa de 1993. Se trata de un amplificador para instrumentación que permite utilizar un miliamperímetro de 0-1 mA como voltímetro de 0-1 V. El interesante de este circuito es que su resistencia de entrada para medidas CA es de 200 M ohms. El circuito debe ser alimentado por una fuente simétrica. Los resistores deben ser de precisión.




