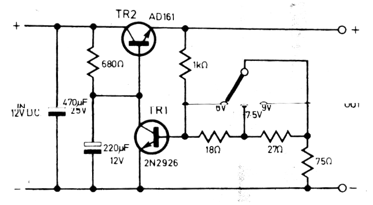
Este circuito fue encontrado en una publicación inglesa de 1977, originalmente usando transistores de germanio. Sin embargo, podemos utilizar el BC548 para TR1 y TIP31 para TR2, controlando corrientes hasta 2 A. La diferencia que puede ocurrir en el montaje con transistores de silicio está en la tensión ajustada, debiendo eventualmente los resistores junto a la llave conmutadora tener sus valores alterados. La entrada debe realizarse con tensiones de 12 a 15 V.




