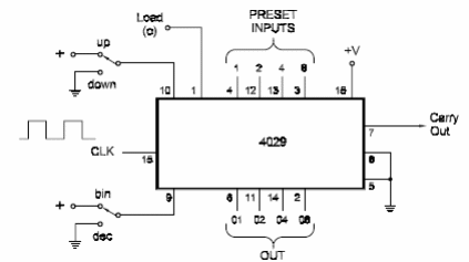
En la figura tenemos el modo de utilizar un circuito integrado 4029 como contador Up-Down (progresivo-regresivo). El circuito integrado 4029 tiene tecnología CMOS pudiendo ser alimentado con tensiones de 5 a 15 V. El conteo puede ser en binario o decimal, conforme la programación de la llave. El circuito es del libro CMOS Sourcebook de Newton C. Braga, publicado en los Estados Unidos.




