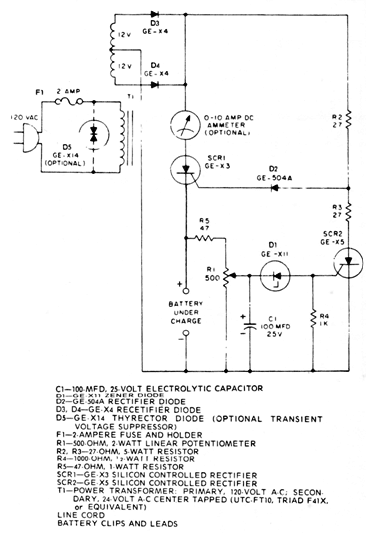
Este circuito tradicional ya visto en diversas configuraciones similares fue sugerido originalmente en un manual de Tiristores publicado en 1974 en los Estados Unidos. La versión original es la que mostramos, pudiendo ser usados SCRs del tipo TIC106 o de mayor corriente conforme la carga deseada y el diac puede ser de cualquier tipo. El protector de transitorios en la entrada es opcional, pero se puede utilizar un MOV (varistor) de 250 V. D2 es un diodo zener de 13,1 V.




