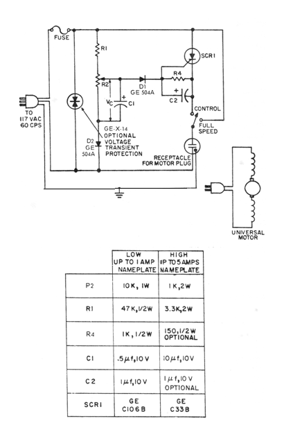
Este circuito utiliza la tensión residual generada por el motor para hacer su control de velocidad. El circuito es de una publicación americana sobre tiristores de 1974, pero puede ser montado con SCRs de la serie TIC. Los valores de los componentes dependen de la corriente de control y se dan en la tabla junto al diagrama.




