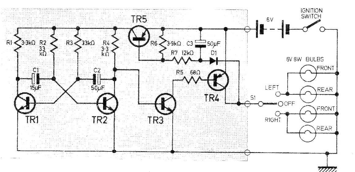
He encontrado este circuito en una revista de 1976, pero todavía se puede montar con facilidad, ya que todos los componentes son comunes. TR1, TR2 y TR3 pueden ser BC548, TR4 puede ser un TIP32 y TR5 un TIP31para lámparas hasta 1 A. El circuito también funciona en 12 V con lámparas de la misma tensión. D1 puede ser un 1N4002.




