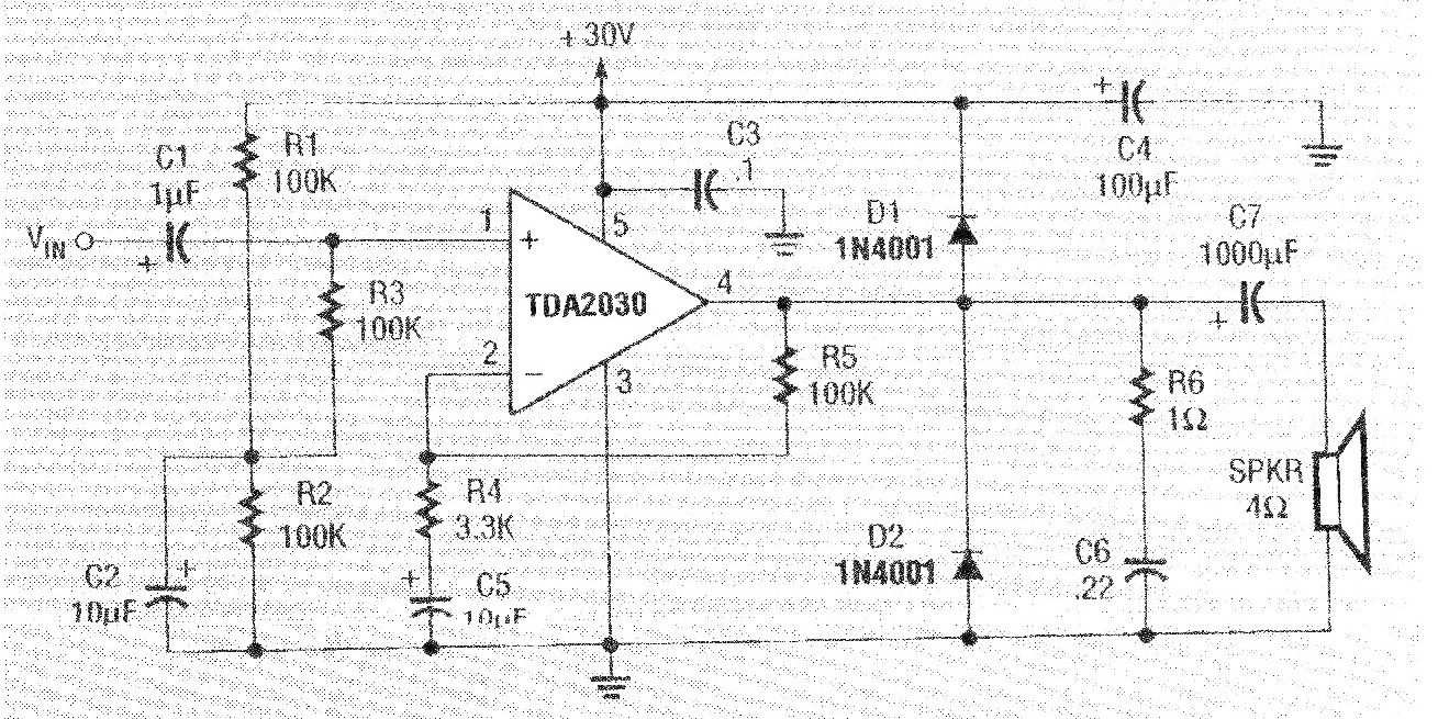
Este circuito fue obtenido en una revista Radio Electronics americana de abril de 1980. La revista ya no existe, pero el circuito puede ser montado con facilidad, una vez que el circuito integrado sea encontrado. El amplificador debe ser alimentado por una fuente de al menos 1,2 A.




