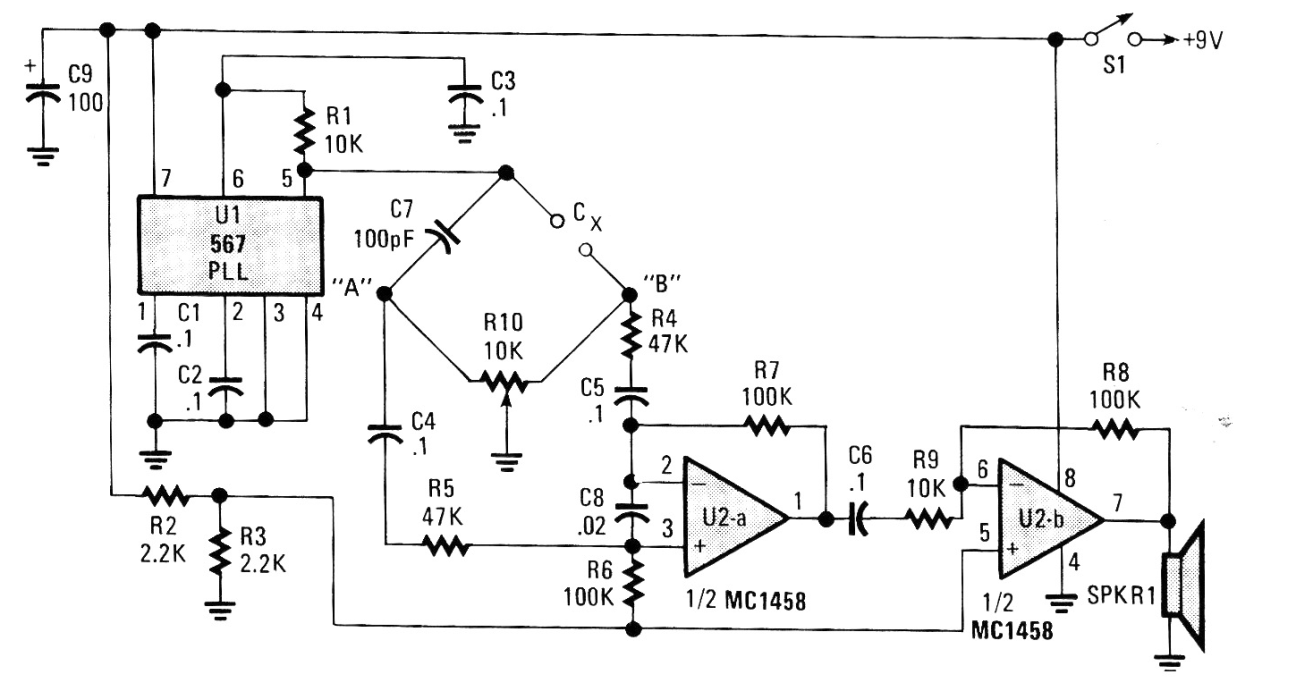
Este circuito es de una Popular Electronics de julio de 1990. La revista ya no existe, pero el circuito puede ser fácilmente montado, ya que todos los componentes todavía son comunes. El 1458, por ejemplo, consiste en un doble 741 y el 567 es un PLL. El circuito puede tener el potenciómetro calibrado para dar el valor directo de la capacitancia Cx.




