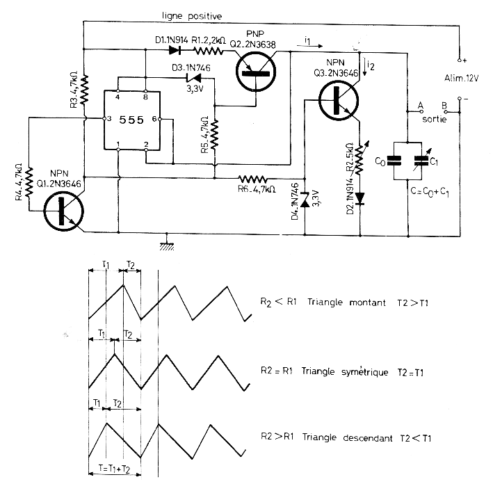
Este circuito es de una revista francesa Electronique Practique de 1978; La revista ya no existe, pero el circuito todavía se puede montar con transistores BC548 y BC558 en lugar de los originales. Las señales triangulares generadas por este circuito pueden tener la simetría ajustada según la relación entre R1 y R2.




