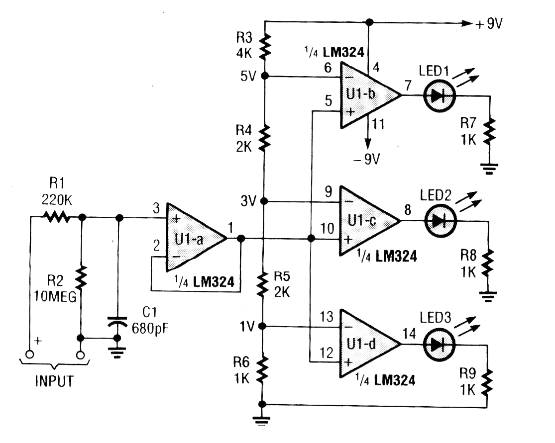
Este circuito fue encontrado en una Popular Electronics de septiembre de 1992 La revista ya no existe, pero el circuito puede ser todavía montado, pues los componentes son comunes. El circuito indica tres niveles de tensión que pueden ser programados por las referencias dadas por los resistores. Se pueden utilizar otros comparadores.




