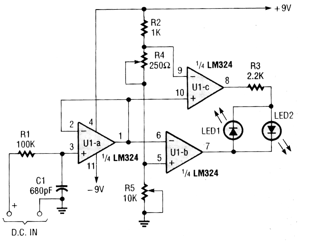
Este circuito se ha encontrado en una Popular Electronics de septiembre de 1992 La revista ya no existe, pero el circuito puede ser montado, pues los componentes son comunes. El circuito monitorea la tensión de entrada indicando cuando se cambia. Otros comparadores se pueden utilizar .




