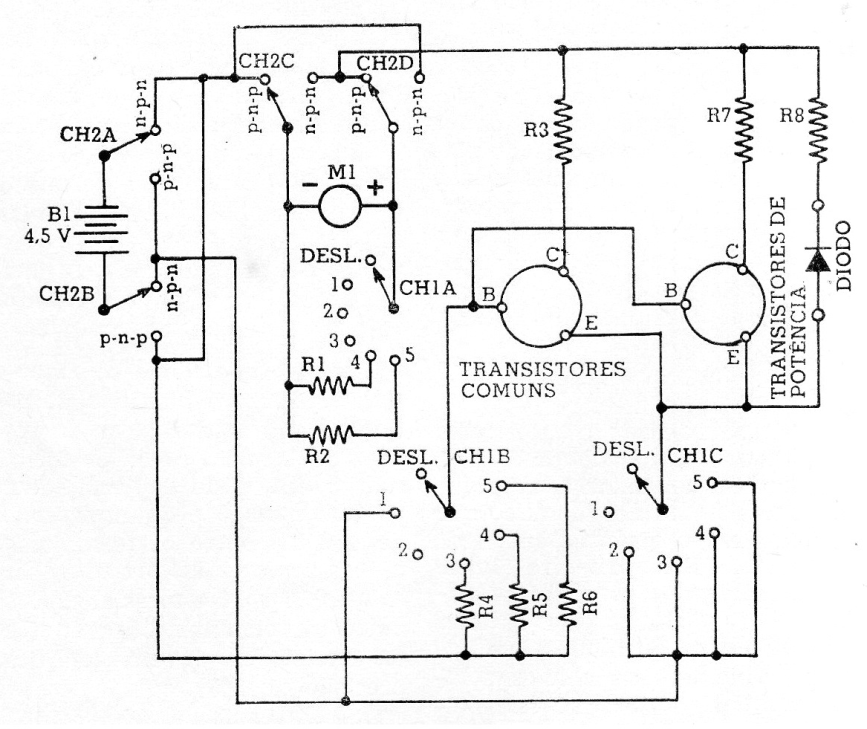
Este circuito fue encontrado en una traducción de 1967, pero puede ser montado con facilidad, pues la mayoría de los componentes se pueden encontrar con facilidad. El circuito mide la ganancia de los transistores en varias pistas y también indica fugas.

Probador de Transistores




