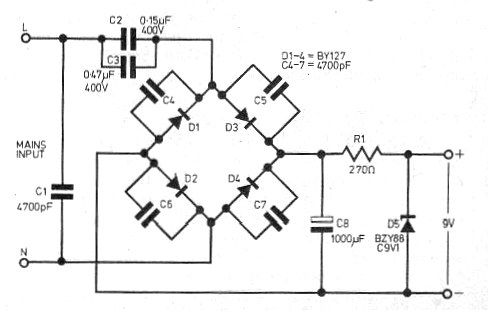
Este circuito es de una revista de 1975, pero todavía es actual pues todos los componentes son comunes. Utilice 1N4007 para los diodos y condensadores de poliéster de al menos 200 V si la red es de 110 V y al menos 400 V si la red es de 220 V. Precaución, ya que el circuito no está aislado de la red de energía.




