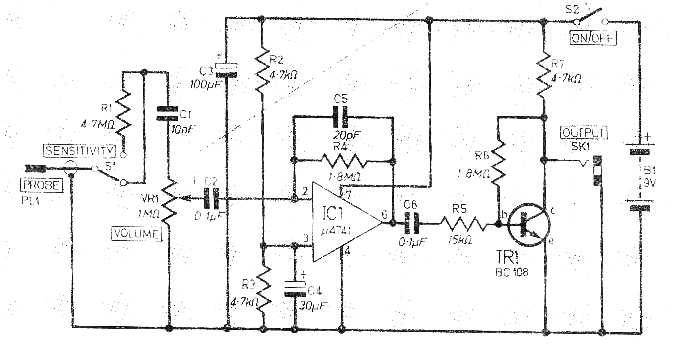
Este circuito fue publicado en una revista inglesa de 1980. La revista ya no existe, pero el circuito se puede montar fácilmente. Porque los componentes son comunes. El circuito tiene dos bandas de sensibilidad para las señales de audio y el transistor puede ser el BC548.




