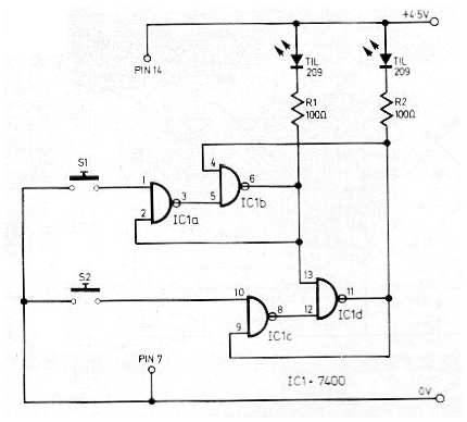
Este circuito fue obtenido en la revista inglesa de 1976. O circuito de circuitos de LEDs y debe ser alimentado con 5 V, pues o circuito integrado utilizado en TTL. Los LED son comunes.

Este circuito fue obtenido en la revista inglesa de 1976. O circuito de circuitos de LEDs y debe ser alimentado con 5 V, pues o circuito integrado utilizado en TTL. Los LED son comunes.
