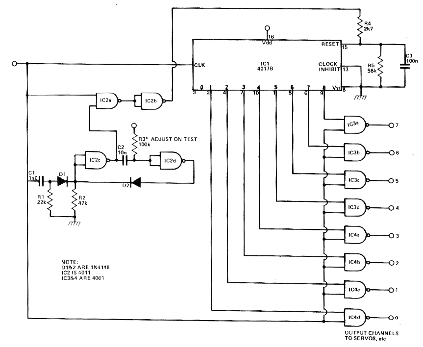
Este circuito fue obtenido en una revista inglesa de 1979, pero puede montarse con facilidad en nuestros días, pues todos los componentes son comunes. El que hace el circuito es decodificar pulsos del CIR9278S para un sistema de control remoto.
Una lámpara neón polarizada cerca del punto de disparo se convierte en un sensible detector de...
Aumente la intensidad del sonido de su bocina piezoeléctrica con el circuito que presentamos. Este oscilador...
El circuito mostrado en la figura 1 proporciona una corriente constante (IL) para dos o más LEDs con...