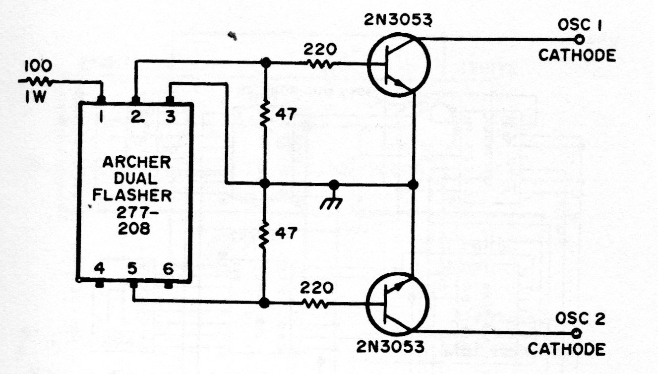
Este circuito fue encontrado en una antigua documentación americana. Su propósito es proporcional señal de barrido para osciloscopio de la época, que hacía uso de tubos de rayos catódicos. El circuito integrado utilizado es difícil de obtener actualmente.




