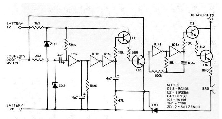
He encontrado este circuito en una revista inglesa de 1986. Todavía puede ser montado con facilidad, cambiando Q1 y Q3 por BC548, Q2 por el 2N3055 y Q4 por un TIP31. El SCR puede ser el TIC106. Los demás componentes no ofrecen mayores dificultades de obtención.




