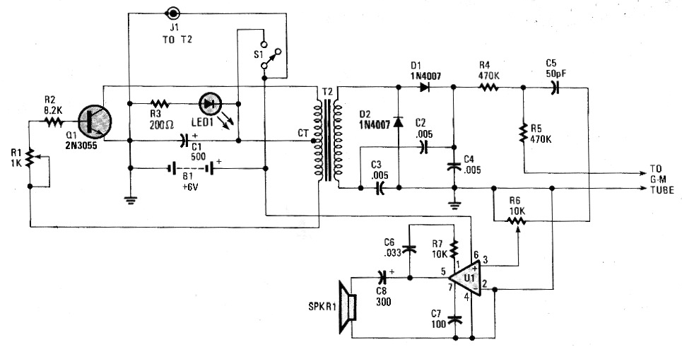
He conseguido este circuito en un Hands On Electronics de 1988. La revista americana ya no existe, pero el circuito se puede montar fácilmente. El transformador tiene un primario de 110 V y secundario de 6 + 6 V con corrientes de 200 a 500 mA. El componente crítico es la válvula GM (Geiger Muller) y U1 es un LM386. El circuito debe ser alimentado por fuente o pilas grandes, dado su consumo elevado. Los capacitores del doblador de tensión son de poliéster para 250 V o más.




