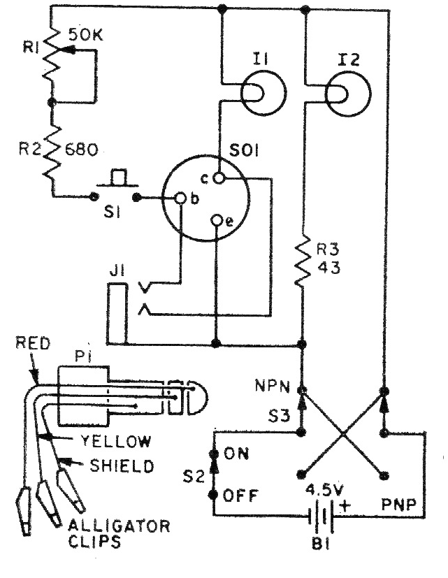
Este circuito es de una Elementary Electronics de 1977. Se puede montar fácilmente porque todos los componentes usados son comunes. El potenciómetro de 50 k puede ser sustituido por el valor comercial más cercano que es 47 k. Las lámparas son de 6 V con 50 mA de corriente. La alimentación se puede realizar con los 4,5 V indicados o con 6 V.




