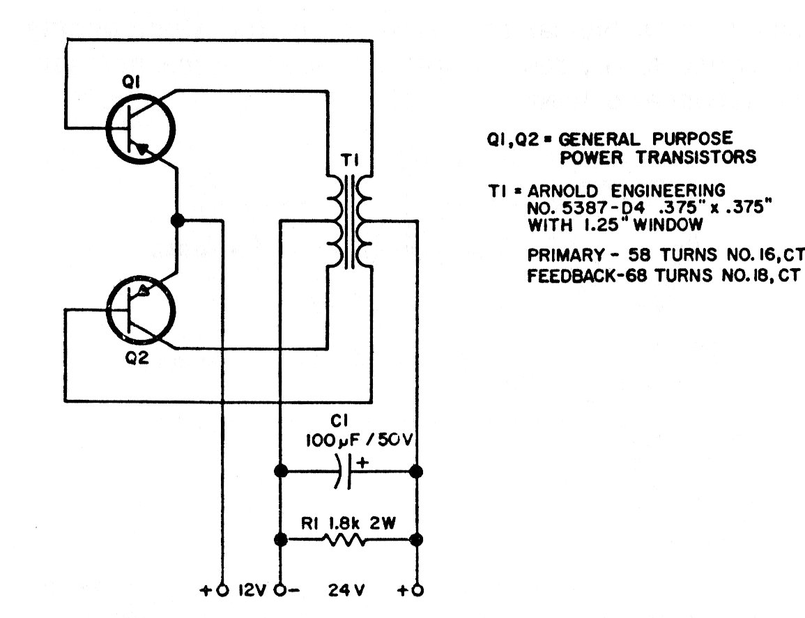
Este circuito, con 1 A de salida, fue encontrado en una documentación de 1975. Los transistores admiten equivalentes y el transformador tiene bobinas de acuerdo con las tensiones que están siendo trabajadas.
¿Quieres saber cuál es la posición de una puerta o de un mecanismo remoto? El monitor que...
Cuando aprendemos a tocar algún instrumento musical, cuando hacemos gimnasia o incluso cantamos, es...
Este circuito enciende automáticamente una lámpara cuando se oscurece y se puede usar tanto en la red...