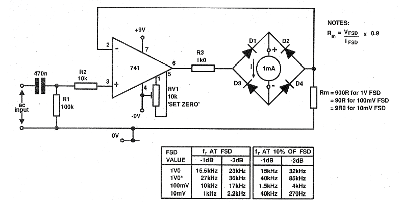
Este circuito salió en un Electronics Today International de mayo de 1993. La revista ya no existe en su versión impresa, pero por los componentes usados el circuito es bastante actual. Este circuito tiene una impedancia de entrada independiente de la sensibilidad del instrumento indicador. Vfsd es la tensión de fondo de escala y Ifsd es la corriente de fondo de escala en el instrumento. Av es la ganancia del circuito que depende de la relación entre R1 y R2. La fuente de alimentación debe ser simétrica de 5 a 9 V. Se pueden utilizar amplificadores operacionales equivalentes. Los diodos pueden ser del tipo 1N4148




