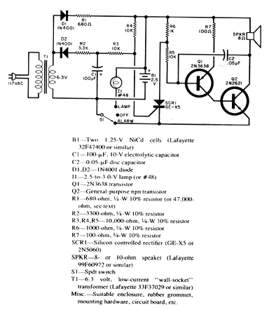
Este circuito salió en el Electronic Experimenter Handbook de 1980, una publicación de la Popular Electronics que ya no existe. El circuito muestra una alarma que se dispara cuando hay un corte de energía. Aunque la energía vuelva, la alarma continúa disparada, dada la presencia del SCR. En el original se utiliza una batería recargable de 2,5 V, pero sugerimos que la batería sea de 6 V ya que existe una caída en el SCR si se utiliza el equivalente TIC106. El transistor PNP puede ser un BC558 y el NPN un BD135. El transfomador tiene un secundario de 6 o 7,5 V con 250 mA. La lámpara indicadora o de emergencia es opcional.




