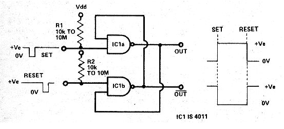
He encontrado este circuito en un artículo de la revista Electronics Today International de julio de 1979. Se trata de una configuración de biestable utilizando dos puertas NOR de un circuito integrado 4011. Vea en la sección de descargas cursos Curso de Electrónica Digital más sobre este tipo de circuito. La señal de set y reset consisten en pulsos positivos con la tensión de alimentación. La alimentación se puede realizar por tensiones de 5 a 15 V.




