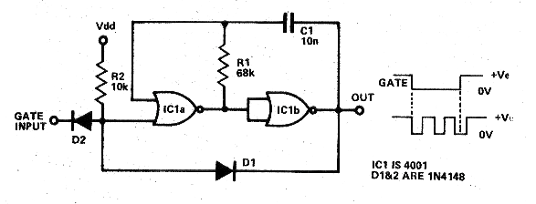
He encontrado este circuito de shield en un artículo de la revista Electronics Today International de julio de 1979. Se trata de una configuración de astable utilizando dos puertas de un circuito integrado 4001. En este circuito el disparo es hecho por el nivel bajo en la entrada. El diodo y la resistencia consiste en una mejora para evitar la presencia de ruido en el rodaje de la versión (1). Vea en la sección de descargas cursos Curso de Electrónica Digital más sobre este tipo de circuito. En la sección de circuitos simulados también tenemos esta configuración en operación. Finalmente, en la sección de matemáticas para electrónica tenemos las fórmulas para calcular la frecuencia de este circuito. La alimentación se puede realizar por tensiones de 5 a 15 V.




