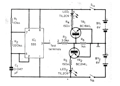
Este circuito fue encontrado en la Radio & Electronics Constructor de abril de 197'6. El circuito es todavía actual, ya que todos los componentes utilizados tienen equivalentes que se pueden encontrar con facilidad. Así, para el PNP se puede utilizar un BC558 y para el NPN se puede utilizar un BC548. El circuito prueba y verifica la polaridad de diodos comunes, posibilitando la identificación del ánodo y el cátodo. El circuito es alimentado por dos conjuntos de 4 pilas y la indicación se realiza a través de LEDs. Se trata de un oscilador que aplica una señal alternada en el diodo, verificando su conducción.




