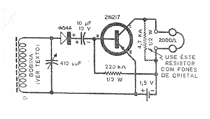
Este circuito fue obtenido en una publicación de enero de 1961. Se trata de un receptor de ondas medias muy simple con escucha en auricular magnético de 2k o auricular de cristal, en cuyo caso el resistor de 4k7 debe añadirse. El circuito es alimentado por una sola pila y el transistor puede ser el BC558 o, si el lector lo consigue, un transistor de germanio de radio antiguo. La bobina consiste en 80 espiras de hilo 28 en un bastón largo de ferrita, de 30 a 35 cm de longitud, pues actúa como antena. El variable se obtiene de una radio antigua fuera de uso.




