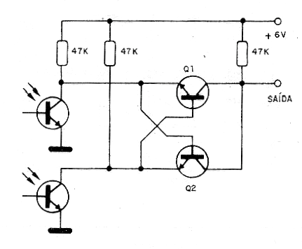
Este puerta No-O Exclusivo es sugerido por Texas Instruments. Los transistores son de uso general como los 2N2222 o BC548 y los sensores son foto-transistores comunes.

Este puerta No-O Exclusivo es sugerido por Texas Instruments. Los transistores son de uso general como los 2N2222 o BC548 y los sensores son foto-transistores comunes.
