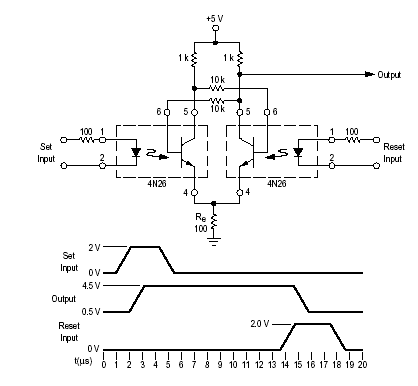
Motorola en su Application Note AN571A sugiere muchos circuitos utilizando acopladores ópticos como el 4N26. Uno de ellos, que encontramos muy interesante es el flip-flop mostrado en la figura. La principal característica de este circuito es justamente el aislamiento que obtenemos de la fuente de señal conductor, pues no existe contacto eléctrico entre el circuito de control y el flip-flop. Otra característica importante es su salida de 5 V, compatible con la tecnología TTL por lo tanto. Las formas de onda obtenidas en este circuito se muestran en la misma figura. Evidentemente, mostramos en el diagrama sólo una de las salidas, pero en el colector del primer acoplador podemos obtener una salida complementaria.




