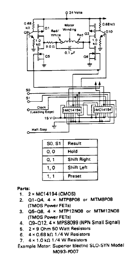
On semiconductor (www.onsemi.com) que ha asumido la línea de semiconductores de Motorola, tiene en su application note 876 / D una gran cantidad de circuitos para controles de motores de paso y controles de motores de corriente continua, como lo que presentamos aquí. El circuito utiliza transistores de efecto de campo de potencia (Power MOSFETs) y conmutando dos a dos estos transistores, determina el sentido de circulación de la corriente en el motor. Conforme el sentido de circulación de esta corriente el motor gira en un sentido o en otro. Para impedir que dos transistores de una misma rama conduzcan al mismo tiempo, lo que llevaría el circuito a un estado de corto, existe una lógica apropiada, proporcionada por circuitos integrados CMOS convencionales. Esta lógica también posibilita la desactivación del circuito y como es compatible con la entrada de otras lógicas posibilita la interfaz del circuito con microcontroladores. La tensión de alimentación depende del motor usado, así como la elección de los transistores. Evidentemente, para motores de corriente elevada, los transistores deben montarse en disipadores de calor. Los transistores bipolares también admite equivalentes, ya que se trata de tipos de uso general de baja potencia. Otro punto importante del circuito es el valor y la disipación de los resistores de 9 ohmios, en serie con los devanados del motor. El valor indicado es para motores de 24 V. En este caso, los resistores deben tener disipación de 60 W, en cuyo caso la corriente del motor es de varios amperios. Para motores menores, tanto el valor como la disipación de este componente pueden reducirse.




