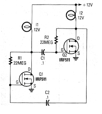
He encontrado este circuito en una revista Popular Electronics de 1989, que ya no existe. Se trata de un astuto usando dos MOSFET. La frecuencia es determinada por los capacitores que pueden ser alterados. Las lámparas de 12 V pueden tener cadenas de 100 mA a 1 A. Prácticamente cualquier MOSFET de potencia puede ser usado.




