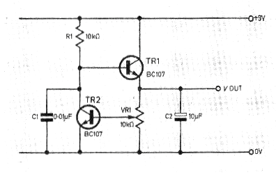
Este regulador de tensión paralelo fue encontrado en una revista inglesa de 1976. El circuito puede todavía ser montado si cambiamos los transistores por los BC547 o BC548. La corriente máxima es del orden de 50 mA y la tensión de salida se ajusta en el trimpot. Se trata de un circuito ideal para proporcionar tensiones de salida de 1 o 1,5 V para alimentación de integrados como el ZN414.




