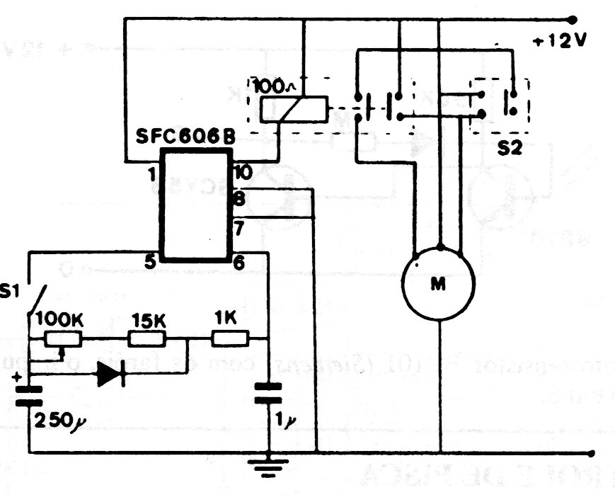
Este circuito encontrado en una documentación antigua puede ser usado en coches antiguos que no posean este recurso. El circuito integrado utilizado es poco común en nuestros días.
Un comparador de tensión de precisión, usando diodo zener como referencia puede ser implementado con un...
Este pequeño radio experimental, muy simple, capta bien las estaciones locales de la banda de...
El oscilador rectangular presentado en la figura hace uso de una de las cuatro puertas NAND de un...