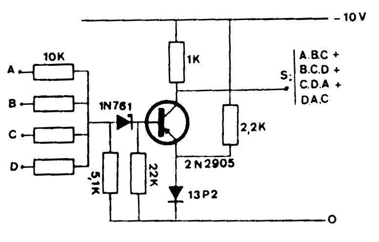
Una función doble usando transistor común y diodos puede ser implementada conforme muestra la figura abajo. El circuito puede ser alimentado por otras tensiones con cambio de valores de los resistores de base y colector.
Un comparador de tensión de precisión, usando diodo zener como referencia puede ser implementado con un...
Este pequeño radio experimental, muy simple, capta bien las estaciones locales de la banda de...
El oscilador rectangular presentado en la figura hace uso de una de las cuatro puertas NAND de un...