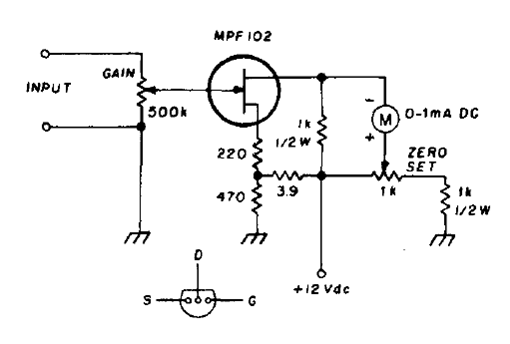
Este circuito tiene una resistencia de entrada muy alta excitando un instrumento indicador de 0-1 mA. El FET admite equivalente como el BF245 y el potenciómetro de ganancia puede ser de 470k.

Este circuito tiene una resistencia de entrada muy alta excitando un instrumento indicador de 0-1 mA. El FET admite equivalente como el BF245 y el potenciómetro de ganancia puede ser de 470k.
