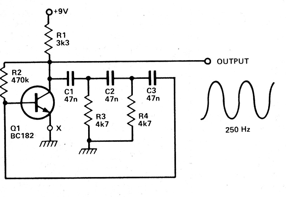
Este circuito tradicional genera una señal senoidal de 200 Hz. La frecuencia depende de los capacitores y el transistor puede ser un BC548. Encontramos este circuito en una antigua documentación de 1979.
Este circuito hace que un relé cierre sus contactos alimentando una carga por un cierto tiempo...
Este pequeño radio para la banda AM utiliza cuatro transistores con un amplificador complementario para...
Este circuito de sólo 3 componentes hace que una pequeña lámpara parpadee con el sonido de su...