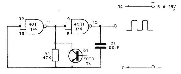
La frecuencia de la señal rectangular producida por este oscilador depende de la cantidad de luz que incide en el foto-transistor. Cuanto más luz, mayor es la frecuencia. Para los componentes indicados la frecuencia central del circuito estará alrededor de 1 kHz. Se pueden utilizar circuitos integrados CMOS que permiten la conexión como inversores como el 4001. Podemos considerar este circuito un convertidor de luz-frecuencia para aplicaciones en medida o detección de obstáculos.




