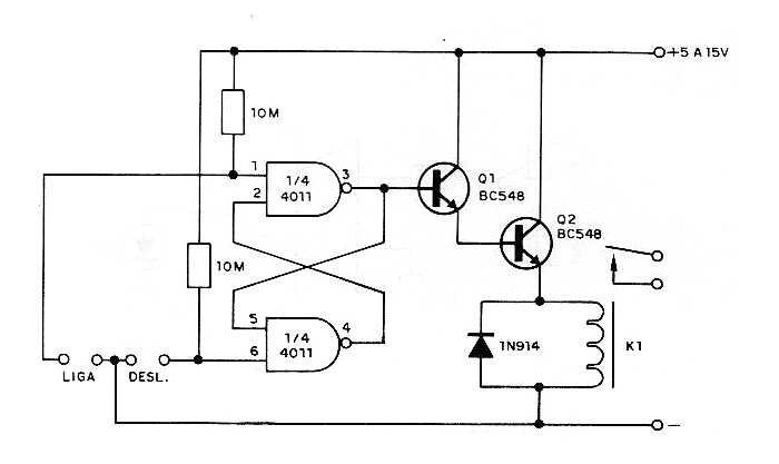
Toques en los sensores formados por dos planchas de metal separadas, conecta y desconecta el circuito, actuando sobre el relé. El circuito debe ser obligatoriamente alimentado por fuente aislada (con transformador) o batería. La tensión de alimentación debe ser de acuerdo con el relé. La sensibilidad al tacto es dada por los resistores de 10 M ohmios. Se pueden utilizar relés sensibles de hasta 100 mA de corriente de bobina.




