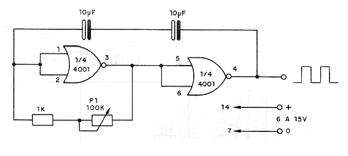
Este oscilador puede generar señales de frecuencias que van de 0,01 Hz a 100 Hz, dependiendo sólo del valor de los capacitores y del ajuste de P1. La señal es rectangular y la alimentación se puede hacer con tensiones de 6 a 15 V. Los demás integrados que se pueden conectar como inversores, como el 4011, se pueden utilizar en este circuito.




