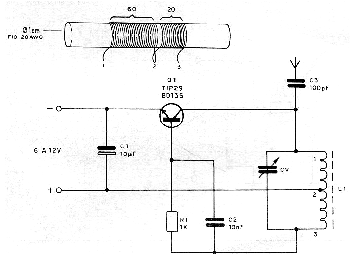
Este circuito produce una señal en el rango de frecuencias entre 550 y 1600 kHz, con un alcance de algunos metros cuando se utiliza una pequeña antena telescópica. Los detalles de la bob Iná enrollada con hilo 26 o 28 son para el rango de frecuencias indicado, pero se puede cambiar a frecuencias más altas. El transmisor sirve para señales telegráficas conectando el controlador en serie con la fuente de alimentación. Un micrófono de cerámica se puede conectar en paralelo con R1 para la transmisión de la voz. CV es un capacitor variable retirado de una radio de ondas medias fuera de uso. C2 y C3 deben ser cerámicos.




