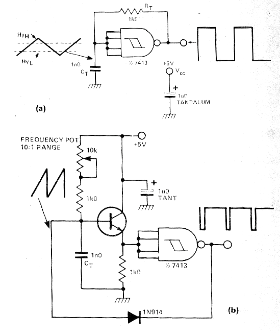
Hemos encontrado este circuito en una publicación inglesa denominada Electronic Circuit Design en el n3 de la primavera de 1980. Este circuito puede generar señales hasta algunos MHz. La fuente de alimentación debe ser de 5 V. Para calcular la frecuencia vea en la sección de Matemáticas para la electrónica las fórmulas . En la versión final, el potenciómetro controla la frecuencia de la señal producida. Ver que tenemos la señal de sierra en la base del transistor y una señal rectangular con gran ciclo activo en la salida del 7413. Para ver la fórmula busque Schmitt Trigger.




