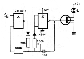
Este circuito de control fue encontrado en una documentación francesa de los años 80. El MOSFET puede ser de cualquier tipo según la carga. El MOSFET debe estar dotado de un disipador de calor.

Este circuito de control fue encontrado en una documentación francesa de los años 80. El MOSFET puede ser de cualquier tipo según la carga. El MOSFET debe estar dotado de un disipador de calor.
