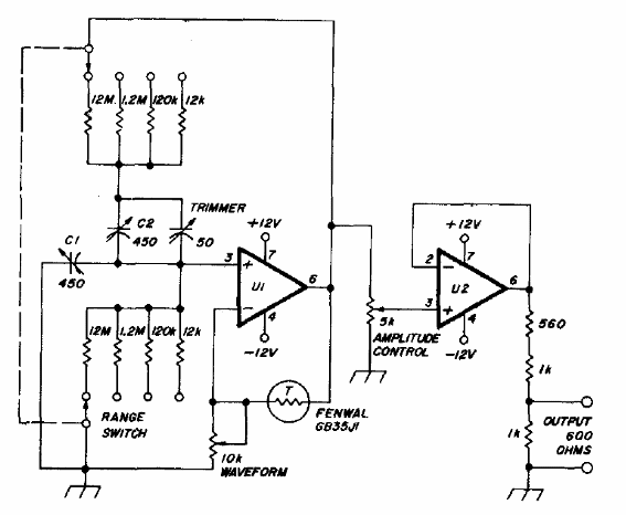
Este circuito fue encontrado en una antigua publicación para radioaficionados. Los amplificadores operacionales son CA3140 y la fuente de alimentación debe ser simétrica. T es un termistor para compensación de temperatura.

Este circuito fue encontrado en una antigua publicación para radioaficionados. Los amplificadores operacionales son CA3140 y la fuente de alimentación debe ser simétrica. T es un termistor para compensación de temperatura.
