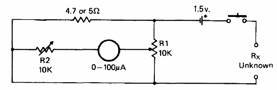
Este circuito se obtuvo en una antigua publicación sobre instrumentación. El instrumento puede ser sustituido por la escala más baja de corrientes de un multímetro común. El consumo es algo elevado que requiere que el interruptor se presione durante poco tiempo durante las medidas.




