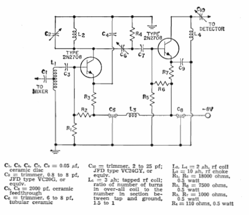
Este circuito se utiliza en receptores super-heterodinos de VHF y UHF. El circuito es del manual de transistores de la RCA de 1964. Los transistores equivalentes como los BF495 pueden ser utilizados.

Este circuito se utiliza en receptores super-heterodinos de VHF y UHF. El circuito es del manual de transistores de la RCA de 1964. Los transistores equivalentes como los BF495 pueden ser utilizados.
