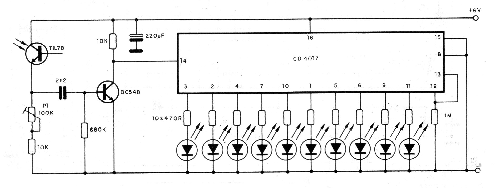
Este circuito es el receptor para el CIR7833S. Se trata de un secuenciador de 10 LED que se activa cuando el foto-transistor recibe un "disparo" de la pistola láser. Este sensor debe colocarse en un tubo en el centro del objetivo. El ajuste de la sensibilidad se realiza en el trimpot. El sensor no debe recibir la luz ambiental directamente.




