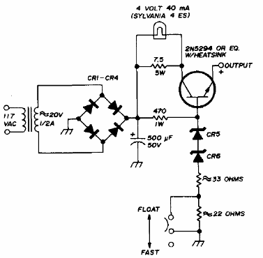
Este circuito fue obtenido en una publicación americana de 1974. Su finalidad es cargar baterías selladas (gel) que se utilizan en equipos de telecomunicaciones. El circuito tiene una salida de 14,4 V y el transistor puede ser el TIP31. Los diodos zener son de 6,1 V y los diodos 1N5404. El transformador tiene un secundario de 2 A.




