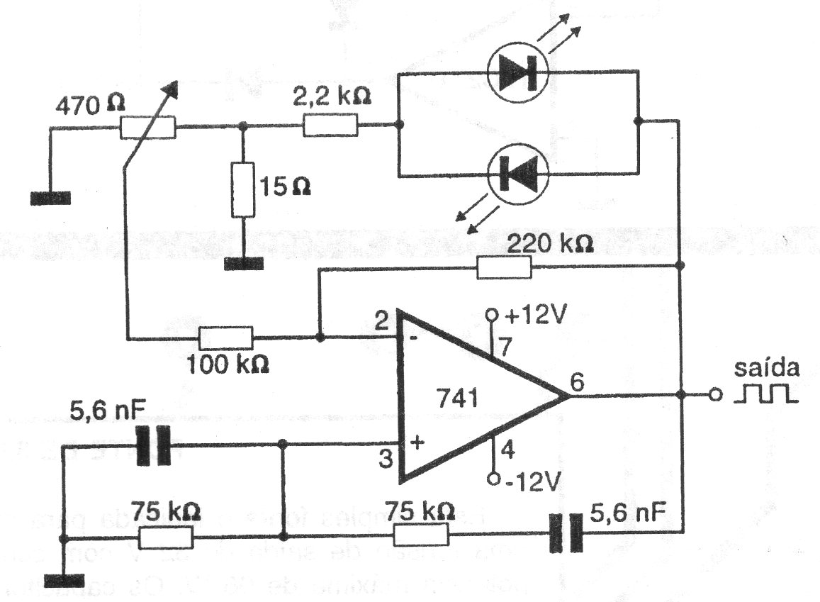
Este oscilador convencional con el 741 puede ajustarse con precisión para producir una señal de 400 Hz. La fuente simétrica puede tener tensiones de 6 a 12 V y la señal producida es rectangular con la amplitud determinada por los diodos zener. La frecuencia es determinada por los capacitores de 5,6 nF que pueden cambiar, para obtener otras frecuencias.




