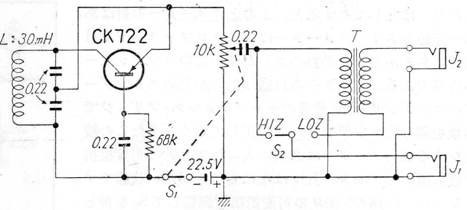
Este oscilador de una publicación antigua utiliza uno de los primeros transistores comerciales, el CK722. Sin embargo, puede equiparse con transistores más modernos. La frecuencia depende de la bobina y los capacitores y el transformador es en caso de que se desee una salida de baja impedancia. La alimentación es proporcionada por una batería de 22,5 V.




