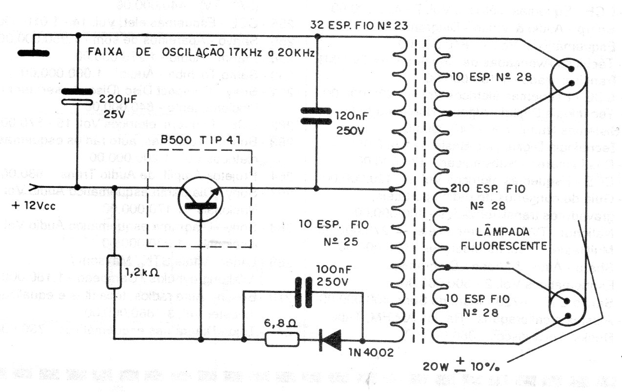
Este circuito inversor, que consta de un oscilador de potencia Hartley, se encontró en una documentación de 1993. El transistor debe estar equipado con un disipador de calor y las bobinas enrolladas en un núcleo E30 / 07 tienen las siguientes características: El primario tiene 32 vueltas de cable 28 hasta la salida. Luego se enrollan 10 vueltas más de cable 25. El secundario tiene 10 vueltas de cable 28 y luego otras 210 vueltas del mismo cable hasta la siguiente salida y luego 10 bucles más.




